記事監修 山田 博保一級建築士としての経験を活かした不動産投資家向けのコンサルティングやwebサイトを複数運営。株式会社アーキバンク代表取締役。建築・不動産業界に新たな価値を提供する活動を行う。詳細は公式メールマガジ細部まで考えたらせん階段 時計回り、反時計回りと設置方向も組立ながら決定できます。 サイズバリエーションはφ10mm、φ1400mm、φ1600mm、1630mm(日本特寸:ホワイト/ライトのみ) 細部まで考えた螺旋階段階段ユニットは、ボックスタイプ1タイプ、オープンタイプ3タイプに対応しています。 バリエーション 階段ユニット (集成タイプ)の価格帯 167,500円~ ※ボックスタイプ直階段で、階高2900mm、柱芯々寸法910mm、柱角105mm、 14段上り切り、踏面210mmの場合 階段
らせん階段運べる最大径は 職人のひとりごと
螺旋階段 寸法
螺旋階段 寸法-螺旋階段の全体図 初期データ リフト 2700 mm 階段の直径 00 mm 内径 100 mm ステップ数 11 回転角度の梯子 450° 踏み板の厚さ 50 mm ステップ高さ 245 mm 屋外用らせん階段 「CIVIKZINK」 シビックジンクは、亜鉛メッキ熱加工により錆や耐酸化に強い製品です。 スチールとPVC製の手摺の組み合わせの 屋外のための螺旋階段です。 Contents テラスやバルコニーに! カラーバリエーション オプション追加部品



05 号 螺旋階段 螺旋階段の施工方法 螺旋階段の手摺り 並びに 螺旋階段の手摺りの製作方法 Astamuse
ちなみに小学校と中学校の階段寸法はこうなっています。 小学校 蹴上げ:160mm以下 踏み面:260以上 中学校 蹴上げ:180mm以下 踏み面:260以上 階段寸法についてもっと詳しく知りたい場合はこちらの記事をどうぞ。 階段の半径をR、らせんを1回回る間に上る高さをTとすると、1回回る分の手すりの長さは、直角をはさむ2辺の長さが2π (パイ)RとTである直角三角形の斜辺の長さ、つまり { (2π (パイ)R)の2乗+Tの2乗}の平方根 になります。 これで階段の全高さをH、高さHまでN回回って到達するとすると、H=N×T から T=H÷N なので、手すりの全長は { (2π (パイ)R)の2乗+ (H÷N)の2乗螺旋(らせん)階段 とは 29 階段用語集 8 法規制による階段寸法 (有効幅、蹴上、踏面、踊場) 階段の寸法は、建築基準法施行令によって建物の用途と面積規模によって定め られています。建築物の階段は必ず下表のいずれかによらなければなりません。
このらせん階段の外径寸法は、1,6ミリ、1間(芯々 1,0ミリ)の吹き抜け空間(105角の柱を使用の場合)にも設置することができるので、限られたスペースでのプランニングが可能です。 狭小敷地に建つ都市型3階建て住宅に適したものと言えるでしょう。 また、工場生産品なので品質も安定しており、軽量で基礎工事や設置時に特殊な工具も必要としない のみ60以 上 回り階段の部分における踏面の寸法は、踏面の狭い方の端から30cmの位置において測るものとする。 階段及びその踊場に手すり及び階段の昇降を安全に行うための設備でその高さが50cm以下のもの(以下この項において「 手すり等 」という。 )が設けられた場合における第1項の階段及びその踊場の幅は、手すり等の幅が10cmを限度として、ない 螺旋階段 寸法 階段の寸法について、法律で定められた基準が知りたい。 有効幅・蹴上げ・踏面の制限について具体的な数値はある? 階段の寸法はどこを測ればいい?こんな疑問に答えます。本記事では、建築基準法における階段の基準(有効幅・蹴上げ・踏面)につ?
螺旋階段を設置する際に、 網目やシースルータイプにすることで光が下まで届きます。 螺旋階段のフォルムは光をさえぎらず、自然と吹き抜けのような空間になります。 1階と2階が繋がっているような印象を受け、光が入る広々とした空間を演出できます。 設置スペースが少ない 通常の階段は踊り場があり、傾斜角度が必要となります。 対して、 螺旋 建築基準法で定められている階段の階段の寸法 出典 hitxtniftycom ・幅:75cm以上 ・蹴上げ:23cm以下 ・踏み面:15cm以上 建築基準法では、「人が昇り降りしやすい高さ」というものが決まっています。 デザイン階段 らせん階段 屋内用 取寄せ 全商品(商品一覧) Tweet リングチューブはステンレスチューブの横桟を配したすっきりと美しい螺旋階段です。



05 号 螺旋階段 螺旋階段の施工方法 螺旋階段の手摺り 並びに 螺旋階段の手摺りの製作方法 Astamuse



モダンなワイヤー入りらせん階段 アイエム
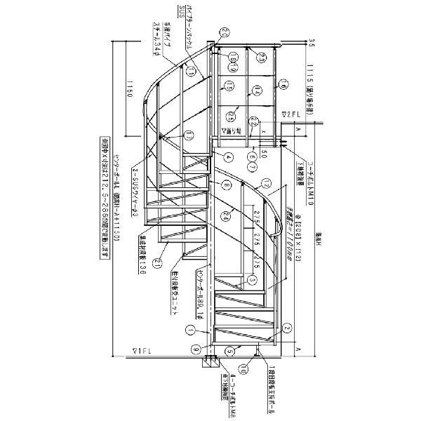
寸法仕様 直径(手すり外径) 有効幅 有効踏み面 蹴上げ高さ 割付角度 手すり高さ (踊り場) (階段段端) 踊り場寸法 階高 標準高さ 廻り勝手 1758 750 180(内側ヨリ300) 210 257 1110 850×1100 3150 右手すり 左手すり ss22t(y) 寸法仕様 直径(手すり外径) 有効幅 有効踏み面 蹴上げ高さ 螺旋らせん階段の作成方法円弧からマジックワンドで階段作成が可能です平面で作成すると簡単に作成できます今回は例で半径1000の螺旋階段を作成します 1円弧ツールから半径1000の円を作図します 家族みんなの条件を考えながら階段の寸法を決めましょう 登りやすい階段という意味でφ10 の螺旋階段の製作について 今回、リフォームの現場で3f から4f に設置する直径φ10 の螺旋階段の依頼がありました。こ んなに直径の小さな螺旋階段は初めてでした。 この階段自体はロフト用に近いものがあり、使用頻度は比較的少ないそうです。



階段 Atelier Lx アトリエルクス 住宅設計 商業 事業の建築設計事務所 愛知 名古屋 岐阜 三重 静岡



螺旋階段 模型 簡単 Imsmedia Org
室内スチールらせん階段 一坪タイプ 螺旋階段でスペースを有効利用 室内スチールらせん階段 モデリア シングル格子 非耐火仕様 代引不可・北海道、沖縄県、離島への出荷不可 商品番号 モデリア シングル格子13段 価格 859,047円 (税込) ポイント情報螺旋階段の踏面寸法は、段板の狭い方から300の位置で測るので、4枚割りの場合は、内側に半径300内外の手すりを設けるのが一般的。 支柱のサイズは、構造屋さんと相談が必要やが、stk300φもあれば十分。 ナイス: 0 この回答が不快なら



旋转楼梯画法平面图 万图壁纸网



螺旋階段モデル The Glass ピラミッド イプロス都市まちづくり



木製らせん階段キット 省スペースやセカンド階段用



Ichinose 世田谷螺旋階段幕板



鉄骨螺旋 ラセン 階段 rs 01 スチール空間設計 中島鉄工建設 佐賀県唐津市の鉄工所 鉄骨 スパイラル階段 螺旋階段



室内用らせん階段 建築基準法適合サイズも 在庫品



螺旋階段 踊り場 必要 Kbreckpaperdoll Com



固定式階段の一般構造 材料 金属材よりなるもの



階段シリーズ コンパクトらせん階段 Magia マージア 株式会社ピラミッド 8443 建材トレンド



狭い階段 らせん階段寸法 木製階段部品 Buy 狭い階段 スパイラル階段寸法 木製階段パーツ Product On Alibaba Com



デザイン性が高い コンパクトらせん階段 Magia マジーア ニュース一覧 株式会社ピラミッド 建築 設備 建材メーカー一覧 建材ナビ 建築材料 建築資材専門の検索サイト



螺旋階段 大きさ Ultimatemexico Org



螺旋階段 ディテール詳細 建築設計研究所



Http Www Marudai Fuji Co Jp Wp Content Uploads 14 Furniture 1000 Rasen Pdf



らせん階段運べる最大径は 職人のひとりごと



うつくしい階段 No 5 ヴァチカン美術館の螺旋階段 花形文化通信



G574a アイカメタル階段総合カタログ



貴方も造れる 単管パイプ螺旋階段 Diy かん太金具 単管ビス止めジョイントかん太オンラインショップ



3階建狭小住宅に適するアルミのらせん階段 内装建材 All About



螺旋階段のある2階リビングプラン シンプルモダンのおしゃれな外観の家 I Prime7



アルミらせん階段 kdスパイラル topページ



室内用らせん階段 建築基準法適合サイズも 在庫品



ステンレスユニット式らせん階段



Images 281 522ピクセル Circular Stairs Spiral Staircase Staircase



階段シリーズ コンパクトらせん階段 Magia マージア 株式会社ピラミッド 8443 建材トレンド



次工程の製作準備 間ブログ あいぶろぐ



屋外 屋内アルミらせん階段 kdスパイラル ガラスタイプ 段板巾600 送料込み



階段と間取り 建築のフロンティアワールド



室内スチール製らせん階段 ガラスタイプ 耐火構造 段板巾750 送料込み



のびやかにつながる 螺旋階段のある家 Houzz ハウズ



螺旋階段 施工 受注事例 螺旋階段製作 ゴミステーション 建築金物製作 有 新生製作所 富山



螺旋階段 何畳 Imsmedia Org



螺旋 らせん 階段の作成方法 Graphisoftナレッジセンター



ロフト階段 らせん階段 屋外螺旋階段のキットの販売 イタリア製



階段詳細



第16話 建築基準法 階段 手すり 大阪 豊中市の造園 外構 エクステリアのフジ エクステリア



螺旋階段の検討 Doll S Houseをやってみた



螺旋階段 大きさ Kbreckpaperdoll Com



階段と間取り 建築のフロンティアワールド



Sketchup で螺旋階段 See Sight Seeing



螺旋階段 階段 カテゴリー内一覧 建築設計研究所



Revit Peeler 階段練習帳 3 螺旋階段



室内スチール製らせん階段 ガラスタイプ 標準タイプ 非耐火 段板巾750送料込み Mdga13 ティーアップ ヤフー店 通販 Yahoo ショッピング



ステンレスユニット式らせん階段



ハ 階段の安全性 ホームズ君よくわかる木構造



Pdf Concrete Spiral Staircase Of The Purest Geometric Form House In Ashiya



2階への階段の最小サイズ 木の階段 石の階段とセラミック



螺旋階段やサーキュラー階段パーツ 機能紹介 オフィスレイアウト プレゼンテーションソフト 3dオフィスデザイナー11 メガソフト



建築基準法 螺旋階段 本記事では 建築基準法における階段の基準 有効幅 蹴上げ 踏面 について 図をまじえて解説



屋外用らせん階段 Civikzink Arke らせん階段やロフト階段 オープン階段など階段各種



らせん階段 鋳鉄製螺旋階段シリーズ 屋内外両用 後付設計 ピラミッド Powered By イプロス



ユーザ指定の設定を使ってらせん階段を作成するには Autocad Architecture 17 Autodesk Knowledge Network



螺旋階段 Cadデータ 手摺 詳細図 Jwcad 建設部門のソフトウェアとcadデータ 建設上位を狙え



螺旋階段 図面 Kbreckpaperdoll Com



楽天市場 室内スチールらせん階段 モデリア ガラス 非耐火仕様 代引不可 北海道 沖縄県 離島への出荷不可 ティーアップ



建築設計における 階段寸法 の基準を解説 幅 けあげ 踏面の限度 確認申請ナビ



階段詳細



室内用らせん階段 建築基準法適合サイズも 在庫品



螺旋階段やサーキュラー階段パーツ 機能紹介 オフィスレイアウト プレゼンテーションソフト 3dオフィスデザイナー11 メガソフト



室内スチール製らせん階段 ダブル格子タイプ 耐火構造 段板巾750 送料込み



04 号 螺旋階段 Astamuse



階段詳細



らせん階段の計算



室内スチール製らせん階段 トリプル格子タイプ 標準タイプ 非耐火 段板巾750送料込み Mdtr13 ティーアップ ヤフー店 通販 Yahoo ショッピング



狭小住宅での階段はどうプランするといいの 暮らしニスタ



Diyらせん階段 写真 図面 ビデオ



モダンなワイヤー入りらせん階段 アイエム



安全な螺旋階段 職人のひとりごと



螺旋階段 踏み面 寸法 Kbreckpaperdoll Com



登りやすい階段はバリアフリー ユニバーサルデザインの寸法 Hocolife



アルミらせん階段 kdスパイラル topページ



15 号 螺旋階段 Astamuse



Flow Until Purchase Delivery Setting And Application For Biccamera Washing Machine



新築を建てる時の安全な階段の構造と寸法について調べた結果 Hocolife



アルミらせん階段 kdスパイラル topページ



2 住宅の建築基準法の階段の有効巾について



螺旋階段 Wikipedia



デザインにこだわります 螺旋階段の巻 三和建設のコンクリート住宅 blog



普通の階段と螺旋階段の設計上の違いとは 鉄創庵



Revit Peeler 階段練習帳 3 螺旋階段



楽天市場 室内スチールらせん階段 モデリア トリプル格子 耐火構造仕様 代引不可 北海道 沖縄県 離島への出荷不可 ティーアップ



階段と間取り 建築のフロンティアワールド



楽天市場 室内スチールらせん階段 モデリア ガラス 非耐火仕様 代引不可 北海道 沖縄県 離島への出荷不可 ティーアップ



屋内用らせん階段 Ringtube Arke らせん階段やロフト階段 オープン階段など階段各種



屋内用らせん階段 Ring リング Arke らせん階段やロフト階段 オープン階段など階段各種



室内スチール製らせん階段 ワイヤータイプ 耐火裏板付準耐火構造仕様 段板巾750送料込み Buyee Buyee Japanese Proxy Service Buy From Japan Bot Online



04 3026号 螺旋階段用の踏段ユニット 螺旋階段 Astamuse



07 1261号 螺旋階段 螺旋階段の構築方法 螺旋階段用の階段ユニット Astamuse



螺旋階段 書き方 m



普通の階段と螺旋階段の設計上の違いとは 鉄創庵



螺旋階段 実測家 建築学博士 ガウディ専門家 田中裕也



28 螺旋 らせん 階段とは



ステンレスユニット式らせん階段



らせん階段の計算



階段 天井について 造作材 注文材 無垢材なら昭和年創業のクボデラ株式会社へ



ロフト階段 らせん階段 屋外螺旋階段のキットの販売 イタリア製


0 件のコメント:
コメントを投稿